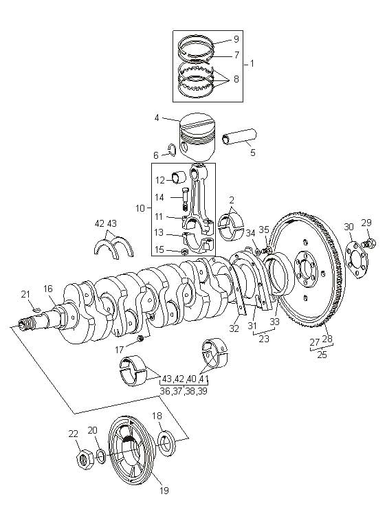
Шатун SENS/Chance 1.3
Шатун SENS Chance 1.3 245-1004050
Описание
Для двигателя 1.3 ЗАЗ SENS и ЗАЗ CHANCE.
Каталожное название "Шатун в сборе".
Номер по каталогу 245.1004050
Номер на рисунке - 10.







